聯系我們
全國咨詢熱線:0591-28082552
QQ:2187169532
手機:18050180580
郵箱:2187169532@qq.com
地址:福建省福州市晉安區福興經濟開發區紅光路11號E座
-
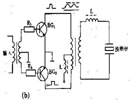
- 大禹電子超聲波功率放大器的產品性能 大禹電子超聲波功率放大器輸出信號的頻率在DC-24MHz(工作頻率范圍內都可以)信號發生器輸入的正玄波、方波、三角波、鋸齒波、任意波形通過放大器后均可放大輸出,功率放大器兼容市面上主流的任意波形函數信號發生器。大輸出功率可達1000W,電壓...
-
- 什么是超聲波功率放大器? 超聲波驅動功率放大器實質是一個功率信號發生器,用于產生激勵信號并向超聲波換能器提供超聲能量的一種裝置,他產生的激勵信號經過功率放大以后再通過匹配電路與換能器阻抗匹配,從而驅動換能器工作,即為超聲波換能器提供驅動信號,驅動信號經過超聲波換能器...
-
- 大禹電子超聲波換能器組裝步驟 大禹電子超聲波換能器的組裝步驟有以下幾點: 1、熟悉換能器的結構。2、組裝間必須每天拖一次地板,嚴禁抽煙,保證組裝間的清潔。3、陶瓷片,銅片用360#金相沙輕磨,目的是去掉陶瓷片銅片上的毛刺及測量陶瓷片的平整度。4、換能器組件的兩...
-
- 大禹電子:超聲波換能器的預應力是要越大越好嗎 由于壓電陶瓷的張力較弱,因此當超聲波換能器超聲振動時,必須施加靜態壓縮預應力以防止壓電陶瓷承受拉應力。另外,預應力確保壓電陶瓷界面形成良好的接觸,從而使聲波以最小的損耗良好地傳輸。壓縮預應力必須足以防止壓電陶瓷遭受超聲拉伸應力和防止橫向壓電...
-
- 超聲波換能器在使用過程中應該遵循的原則有哪些 大禹電子超聲波換能器在使用過程中應該遵循的原則有以下幾點:1.輸入信號頻率必須與換能器固有頻率保持一致并呈感性,當換能器呈容性時,會出現輸入電流信號與陶瓷片自由震蕩信號相位相反的情況,在頻率轉折處極易出現三角震蕩波,對華能器的壽命影響也是比...
-
- 大禹電子超聲波外置換能器要如何保養 不同于內置式換能器保養維護的不便,超聲波外置換能器更有利于保養及維護,而且拆卸方便,已成為超聲波振動篩分系統未來發展的趨勢。該部件的保養事宜可分為以下幾點。1.定時檢查:外置換能器對衛生要求較高,雖然已經過密封設計,但由于超聲波振動篩多篩分...





